
We May Finally Know Why Astronauts Get Deformed Eyeballs
A closer look at space travelers revealed that a buildup of brain fluids may be squishing their eyeballs from behind.
Many astronauts returning to Earth after long-duration missions in space suffer from blurry vision that does not always get better. Now, after years of speculation and study, researchers believe they have finally isolated the cause: The liquid sloshing around the brain is building up in places it shouldn’t, squishing their eyeballs until they permanently flatten.
The condition is called visual impairment intracranial pressure, and it afflicts almost two-thirds of the astronauts who have spent extended periods of time aboard the International Space Station. (Also see "Astronauts' Fingernails Falling off Due to Glove Design.")
NASA first identified the mysterious syndrome in 2005, when astronaut John Phillips’s vision went from 20/20 to 20/100 after six months in orbit. Extensive physical examinations revealed that the back of Phillips’s eyeballs had somehow gotten flatter, inflaming the optic nerve.
“People initially didn't know what to make of it, and by 2010 there was growing concern, as it became apparent that some of the astronauts had severe structural changes that were not fully reversible upon return to Earth,” Noam Alperin, the lead author of the study, says in a press statement.
NASA physicians knew that something was increasing pressure on the astronauts’ eyes, but they couldn’t quite pin down the cause. The leading theory was that it was somehow connected to the redistribution of vascular fluids (blood and lymph) in microgravity.
According to NASA, nearly 68 ounces of fluid—the equivalent of two large plastic bottles of soda—shifts from an astronaut's legs toward their head while in space. Scientists suspected that this fluid buildup increased pressure on the brain, ultimately affecting the eyes.
But a study of this phenomenon published last year only added to the mystery.
Researchers measured the vital signs of four people who flew aboard the so-called Vomit Comet—an aircraft that rapidly dips and climbs, simulating weightlessness for up to 25 seconds. The scientists were surprised to find that intracranial pressure actually dropped during the periods of zero gravity.
Brain Juice

Alperin, a professor of radiology and biomedical engineering at the University of Miami, says that the increased flow of vascular fluids to the head isn’t the problem. The true culprit is cerebrospinal fluid (CSF), which helps cushion the brain from changes in pressure when your body shifts position—such as standing up or lying down.
Space travel messes up that finely tuned system due to the lack of posture-related pressure changes while living in microgravity.
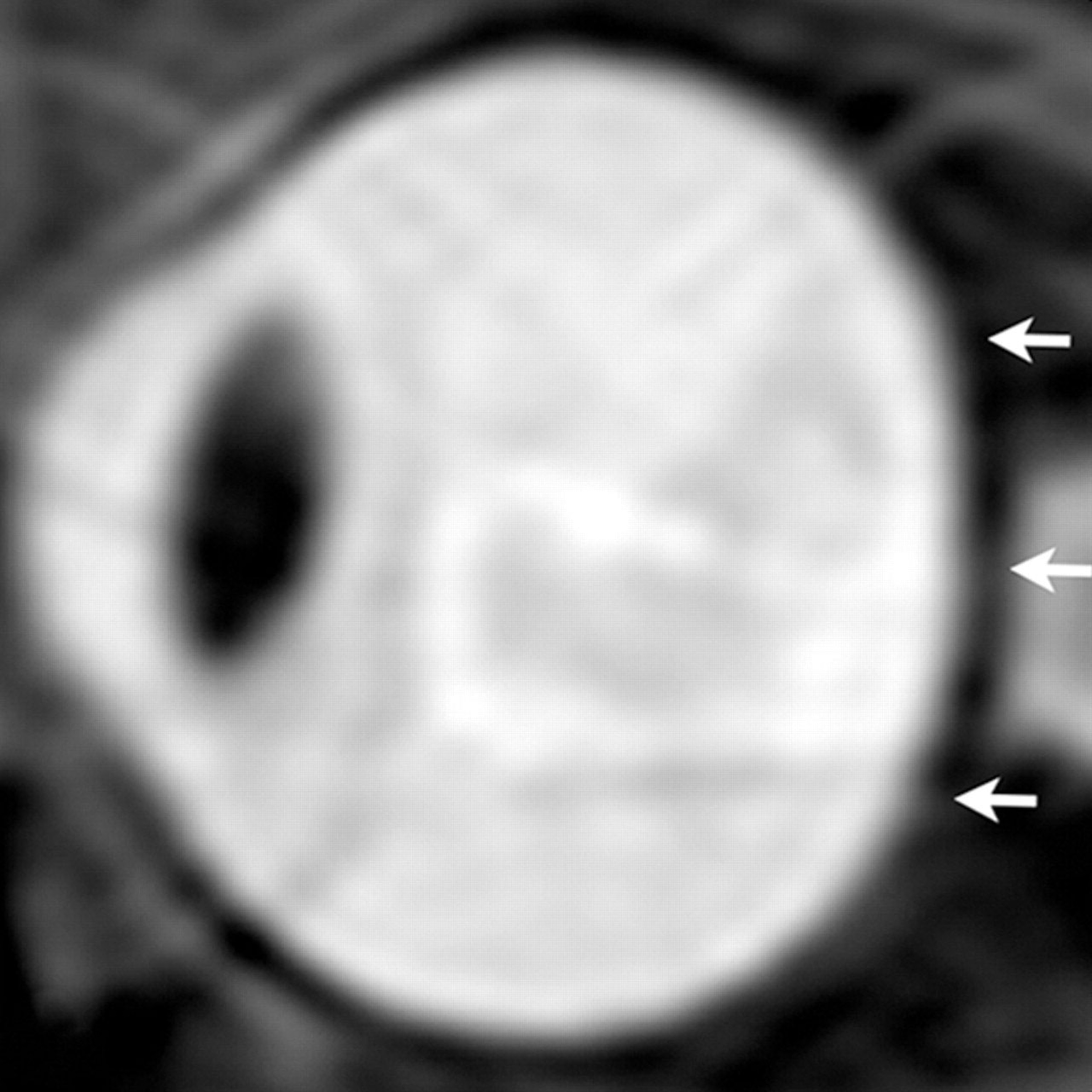
Alperin and his colleagues reached this conclusion by conducting high-resolution MRI scans on seven astronauts before and shortly after long-duration missions. They then compared those results with scans of nine astronauts who had flown on short space shuttle missions.
The researchers found that the seven astronauts who had spent months in orbit had considerably higher volumes of CSF within the skull cavities that hold the eyes. This increased the pressure on the back of the astronaut’s eyeballs, causing them to flatten and leading to increased protrusion of the optic nerve.


The study also helps explain the earlier, puzzling results from the Vomit Comet. Although the volume of cerebrospinal fluid increases in certain areas, the brain itself doesn’t swell in size, which would be a cause of intracranial pressure.
While it’s good news that NASA might finally have the answer to what causes this syndrome, the bad news is that there aren’t any apparent countermeasures. If the damage to the eyes had been caused by shifting vascular fluids, then astronauts could have treated it by wearing devices under development that might be able to reverse the flow of fluids back toward the legs.
For now, deformed eyeballs are just one more ailment that may be solved only by engineers working to develop effective artificial gravity.





